News

Okami HD Headed To Switch In August

News

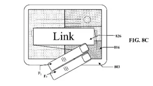
Sony Patent Points To PSP2?

… for a two-fingered touch screen provide further evidence for the existence of the PSP2? … Sony Patent Points …

News

Sony Hopes To Allow Developers To Use Vita Touch Screen To Control PS3 Games

… Screen To Control PS3 Games … Sony head Shuhei Yoshida demonstrated the "remote play" functionality of the Vita at …

Preview

FIFA 12 for 3DS: Soccer That Lets You Use Your Hands

… details regarding FIFA 12 on the Nintendo 3DS, including touch screen support, 3D, and more. … FIFA 12 for 3DS: Soccer That …

Preview

Epic Mickey: Power Of Illusion Creative Director Sheds Light On Painting Gameplay And More

… Mickey: Power Of Illusion Creative Director Sheds Light On Painting Gameplay And More … We picked the brain of Peter … creative director, about the game’s touch screen-enhanced painting mechanic, sidequests, and his personal love for Castle of Illusion. … Creative Director Sheds Light On Painting Gameplay And More …

News

Devil May Cry Coming To iOS

… … When you think of games that work well with the iPhone's touch screen controls, Devil May Cry probably isn't the first to …

News

XCOM: Enemy Unknown Gets Mobile Version Launch Trailer

… XCOM: Enemy Unknown Gets Mobile Version Launch Trailer … Chrysalids and cyberdisks are still scary, even on … screen. … XCOM: Enemy Unknown Gets Mobile Version Launch Trailer

News

PixelJunk Monsters: Ultimate HD Coming To PlayStation Vita This Month

… new visuals, updated controls that take advantage of the touch-screen, and the same difficulty. … PixelJunk Monsters: …

News

This Week In Mobile – Tim Schafer, Ben Cousins, And Grapefrukt

… look at what a couple triple-A developers are doing on the touch screen in this week's weekly mobile roundup.  … This Week In …

Preview

XSEED Reveals Sumioni: Demon Arts For Vita

… new Vita game shows off its gorgeous art style and unique touch-screen mechanics. The game seems to take some heavy …

gamer culture

Playing First-Person Shooters On A Mobile Device Is Hard

… Device Is Hard … The latest video from YouTube's favorite special effects wizard, FreddieW and Rocket Jump, showcases … a virtual gun when all you've got to work with is a small touch screen. … Playing First-Person Shooters On A Mobile …

News

New Kinect Software Turns Any Surface Into Touch Screen

… New Kinect Software Turns Any Surface Into Touch Screen … New technology from Microsoft and Ubi Interactive allows users to project a touch screen onto walls, floors, tables— everything. … New …

News

The Famously Difficult Ghouls'n Ghosts Is Available Today On Android And iOS Devices

… Available Today On Android And iOS Devices … I'm sure the touch-screen controls make it a much more manageable game. … The …

PSA

Make Sure You Get The Right Kind Of Stylus For Super Mario Maker 2

… The Switch uses a capacitive touch screen, so get a stylus for those kinds of screens. … Make …