Old Sony Patent Shows Controller Similar To The Wii U
VentureBeat.com has uncovered an old Sony patent that shows a device with similar functionality to the Wii U and the Kinect.
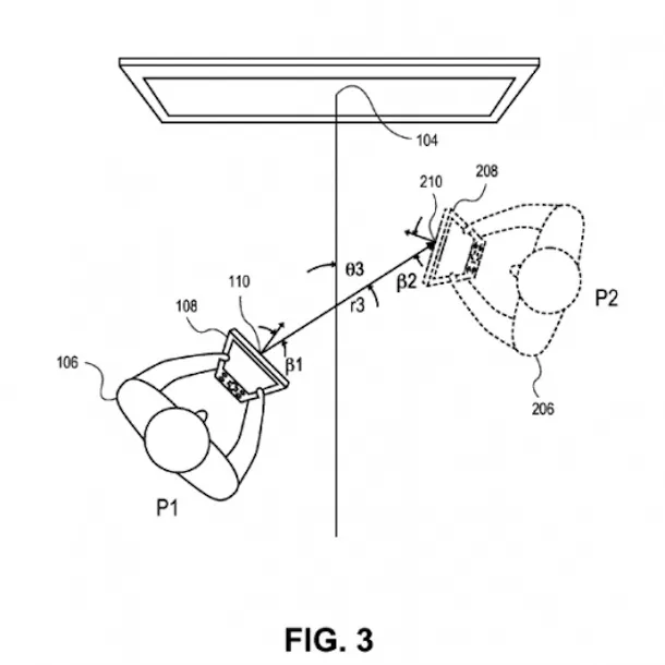
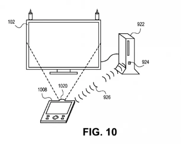
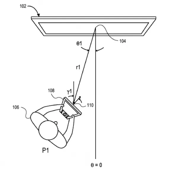
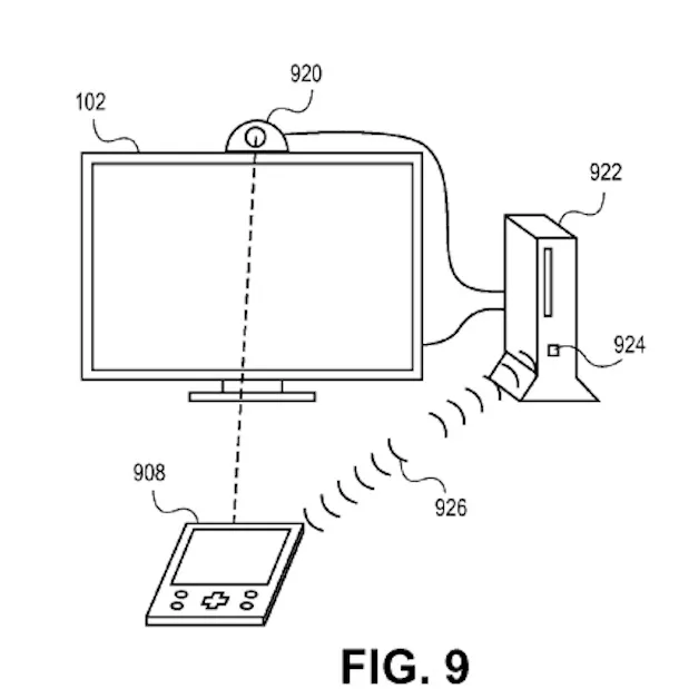
The patent for the "Position-Dependent Gaming 3-D controller" was filed in 2010 and looks very similar to the Wii U's tablet controller. As you can see in the image above, it also looks capable of full body interaction with science fiction robot shooting games that feature at least one pyramid.
There is no telling if Sony is still pursuing such a device, but it seems like the Vita could be perfectly suited for it. The handheld has connectivity options with the PlayStation 3, built in cameras, and a touch screen. Sounds like it might be able to handle everything this patent is showing off.
[via VentureBeat and US Patent and Trademark Office]






Get the Game Informer Print Edition!
Explore your favorite games in premium print format, delivered to your door.
- 10 issues per year
- Only $4.80 per issue
- Full digital magazine archive access
- Since 1991